日本コンクリート工学会

ホーム > コンクリートについて > 月刊コンクリート技術 > 2025年8月号

2025年8月号

コンクリート構造物の性能評価型耐震設計法の日米比較に関する研究委員会(JCI-TC233A)活動概要

※本記事に記載の情報は記事公開時点のものです。適宜,最新情報をご確認ください。


はじめに

米国においては,1990年代のパーソナルコンピュータの発達や非線形構造解析ソフトウェアのオープンソース化による技術革新を背景として,2000年代初頭から建築構造の設計基準であるASCE 71),ASCE412)やACI3183)などで,三次元フルモデルによる非線形時刻歴地震応答解析に対応した耐震設計が実務で取り扱えるように,改定が始められました。それらを補完するために,コンクリート構造物の各種の技術資料と,実務設計者向けの解説書も次々と公開されていきました。その結果2010年代には,カリフォルニア州では,それらを採用したサンフランシスコやロスアンゼルスにおいて,ダウンタウンの再開発のために鉄筋コンクリート超高層住宅の建設ブームが起こり,性能型耐震設計が普及しています。それからさらに10年を経た2020年代には,それらの技術資料の内容がASCE 7やACI318に取り入れられ反映されて,全米で取り扱えるよう完備した基準として成熟し,現在もさらなる発展を遂げています。
これに対して,我が国における建築構造物への非線形地震応答解析の実務への活用ははるかに古く1960年代より質点系モデルを採用して独自の発展を遂げ,1990年代には建設省総合技術開発プロジェクトにより,鉄筋コンクリート造への拡張方法が示され,二方向純ラーメン鉄筋コンクリート構造の超高層住宅のブームを先導しました。しかしコンピューターの性能が飛躍的発展を遂げた2000年代以降も,長周期地震動が考慮されるようになった以外,技術的な革新や変更はないのが現状で,日米で大きな違いがあります。
本研究委員会では,米国における鉄筋コンクリート構造のための非線形時刻歴地震応答解析における耐震設計の実務における現状を,試設計例や基準及び関連技術資料により日米を比較し,相違点や共通点を検討することを目的として活動を行ってきました。本稿では,2023年度から2年間にわたる本研究委員会の活動成果の概要を紹介するとともに,本年9月に開催する成果報告会についてご案内いたします。


活動概要

■RC10層建物による日米の耐震設計の比較
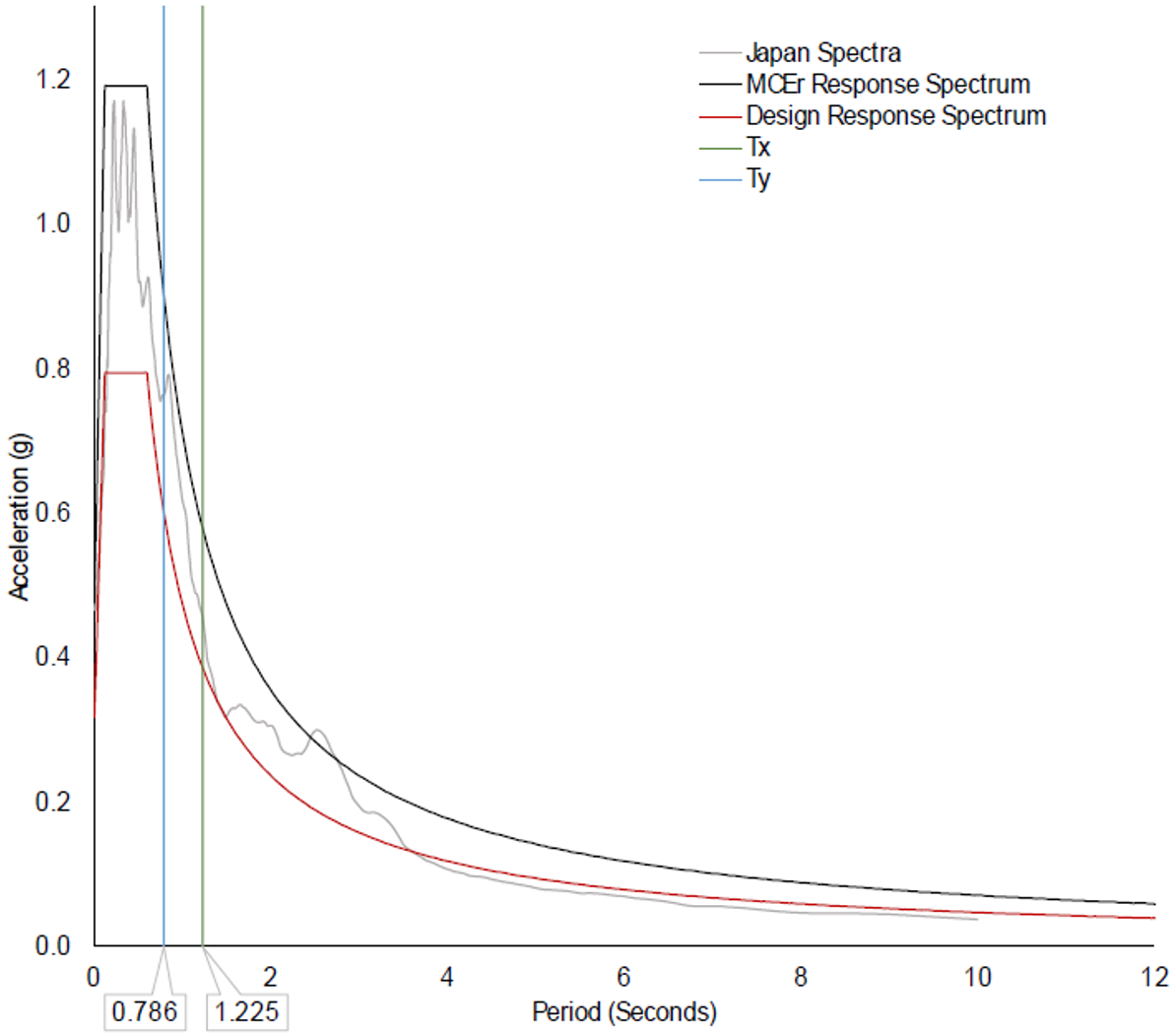
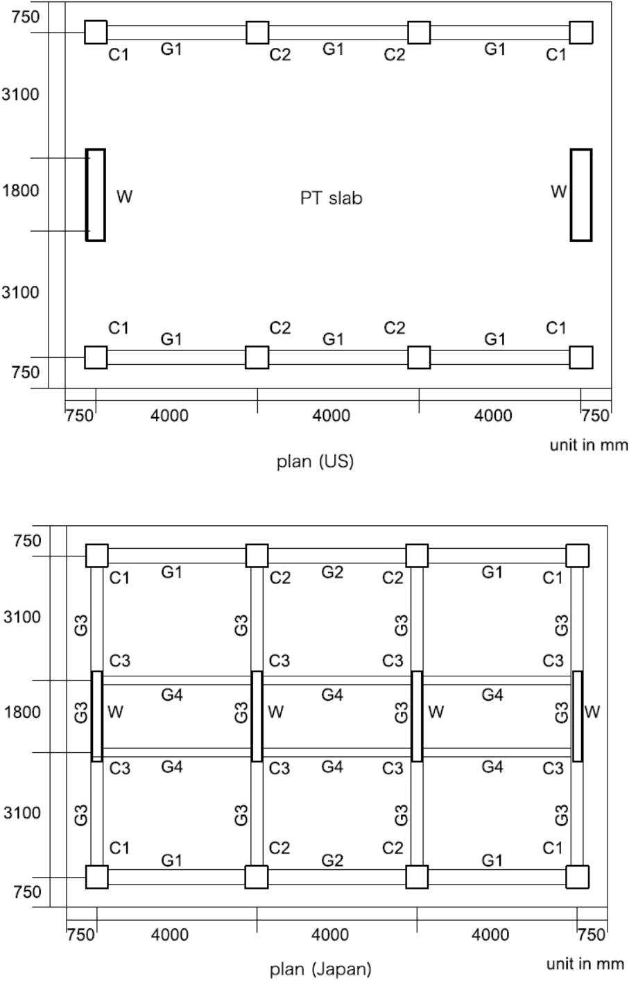
本研究委員会の活動の大きな柱の一つは,非線形時刻歴地震応答解析による耐震設計の試設計を通じて日米の方法を相互に理解することです。そのために米国コンクリート工学会(ACI)ACI 374委員会と協力して,日米の実務における非線形時刻歴地震応答解析の用いられ方についての比較検討を行いました。2023年10月に開かれた第1回のJCI/ACIワークショップで合意した方針に基づいて,日米双方の実務者が,それぞれの現行の実務で使われている非線形時刻歴応答解析による耐震設計法を適用して,10層鉄筋コンクリート造建物の設計例を作成する作業を進めました。2024年6月には,コンクリート工学年次大会の会期中に第2回のJCI/ACIワークショップを松山で実施し,日米の担当者が互いに試設計の結果を報告し,日米の設計結果の比較を行うとともに,設計内容の質疑を通じて,日米の設計基準の違いや,入力地震動,構造物のモデル化,設計のクライテリアなどの観点から,日米の設計の工学的なフィロソフィーの違いについて互いに関心を持ち,明らかにすることに務めました(図-1,図-2)。入力地震動は,日米でほぼ同じとなるように米国側の地震動を設定しています(図-3)。その他,背景となる基準及び関連技術資料による日米の適用方法に関する比較を行いました。
委員会の成果により,日米でそれぞれ非線形時刻歴地震応答解析を用いた耐震設計がどのように信頼性が確保されているかを俯瞰的に理解するのに役立つ資料が得られ,将来に向けた課題が明らかにされることができたものと考えています。

図-1 試設計平面伏図(上:米国,下:日本) img
図-1 試設計平面伏図(上:米国,下:日本)
図-2 試設計立面図(上:米国,下:日本) img
図-2 試設計立面図(上:米国,下:日本)
図-3 米国の非線形時刻暦地震応答解析の入力地震動のターゲットスペクトル MCERの設定 img
図-3 米国の非線形時刻暦地震応答解析の入力地震動のターゲットスペクトル MCERの設定

委員会報告書

本委員会では,報告書において,現在の米国の実務との比較を念頭において,日米の試設計とそれらの比較をしました。さらに,米国における非線形時刻歴地震応答解析の耐震設計の実務における各種の規定を取り上げ日本と対比しながら,設計のフィロソフィーの違いを俯瞰的に理解するための資料としています。報告書の目次は,表-2の通りです。また,日米の試設計の詳しい結果も,報告書に示されています。

表-2 報告書の目次(案)
1. RC構造物の米国の性能型耐震設計の現状
1.1 はじめに
1.2 現行の米国の構造設計基準の体系
1.3 米国の建物の耐震設計基準の変遷
1.4 米国の新築建物の耐震設計基準と非線形時刻暦地震応答解析
1.5 非線形時刻歴応答解析法による性能型耐震設計の実用化
1.6 確率論を取り入れた耐震性能表示法の実用化
1.7 橋梁構造の耐震設計における非線形時刻歴地震応答解析の利用
1.8 まとめ
2.日米の方法によるRC10層建物の非線形時刻歴応答解析による耐震設計の比較
2.1 全体概要
2.2 日本側の試設計の要旨
2.3 米国側の試設計の要旨
2.4 質疑応答・討議
2.5 まとめ
3. 橋梁構造についての実務の米国の現状と日本の現状
3.1 入力地震動の選択と適切な倍率の設定
3.2 適用範囲と自由度・モデル化
3.3 地震応答量や崩壊モードの不確定性
3.4 性能表示との連携
3.5 機構設計と保証設計
3.6 モデル化と構造実験の取り扱い
3.7 設計の品質管理
3.8 解析ソフトウェア
3.9 ゴム支承,免震支承,ダンパー
4. 建築物についての実務の米国の現状と日本の現状
4.1 設計のクライテリアと荷重
4.2 適用範囲と自由度・モデル化
4.3 地震応答量や崩壊モードの不確定性
4.4 性能表示との連携
4.5 機構設計と保証設計
4.6 モデル化と構造実験の取り扱い
4.7 設計の品質管理
4.8 解析ソフトウェア
4.9 免震・制振
4.10 耐震補強
5. 日米比較とそこから考えらえる将来に向けての課題

委員会報告会

本研究委員会の2年間にわたる調査研究の総括として,下記の日時において成果報告会を開催することとなりました。委員会における日米の試設計や基準の規定を比較した結果の他,パネルディスカッションにおいては,日米比較とそこから考えらえる将来に向けての課題についての議論を行い,将来の非線形地震応答解析を用いた耐震設計のあるべき姿について情報交換・議論もできる場としたいと考えています。ふるってご参加ください。

■コンクリート構造物の性能評価型耐震設計法の日米比較に関する研究委員会報告会(対面形式)

開催日時:2025年9月24日(水)12:10〜16:20
開催方式:対面※
開催場所:日比谷図書文化館 日比谷コンベンションホール(大ホール)(東京都千代田区日比谷公園1-4)
※9月24日(水)の報告会終了後から1週間の録画見逃し配信(オンデマンド)も用意します。

プログラム(予定):
12:10〜12:25 開会挨拶・活動概要
12:25〜13:15 委員会報告(1):日米の試設計の概要(試設計WG)
13:15〜14:05 委員会報告(2):建築物についての実務の米国の現状と日本の現状(建築WG)
14:05〜14:20 <休憩>
14:20〜16:05 パネルディスカッション:日米比較とそこから考えられる将来に向けての課題(課題WG)
16:05〜16:20 講評・閉会挨拶
(内容および時間は,都合により変更することがありますので,あらかじめご了承ください。)

※プログラム・申込方法などの詳細はこちらをご覧ください。
https://www.jci-net.or.jp/j/events/symposium/index.html

[参考文献]
1)American Society of Civil Engineers: Minimum Design Loads and Associated Criteria for Buildings and Other Structures (ASCE/SEI 7-22). ASCE, 2022, 985pp.
2)American Society of Civil Engineers: Seismic Evaluation and Retrofit of Existing Buildings (ASCE/SEI 41-23). American Society of Civil Engineers, 2023, https://doi.org/10.1061/9780784416112.
3)ACI Committee 318: Building Code Requirements for Structural Concrete and Commentary (ACI318-19/ACI318R-19). American Concrete Institute, 2019.

執筆者:塩原 等(東京大学)※1
壁谷澤 寿一(東京都立大学)※2
楠 浩一(東京大学地震研究所)※2
中村 光(名古屋大学)※2
藤倉 修一(宇都宮大学)※2
三木 朋広(神戸大学)※2

※1 コンクリート構造物の性能評価型耐震設計法の日米比較に関する研究委員会 委員長
※2 同上 幹事

Copyright © Japan Concrete Institute All Rights Reserved.

トップに戻る